Сообщения без ответов | Активные темы
|
Страница 1 из 1
|
[ Сообщений: 3 ] |
|
| Автор |
Сообщение |
|
medvedko
|
Заголовок сообщения: Расчет уровня изоляции приемника от передатчика в дуплексном Добавлено: Вс 06 окт 2013 13:19 |
|
Зарегистрирован: Пт 08 май 2009 00:00 Сообщений: 273 Откуда: г.Герой-Ленинград.
|
|
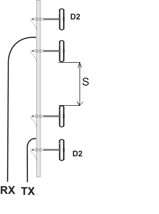
Интересует расчет уровня изоляции антенн приемника от передатчика в дуплексном ретрансляторе. Пользовался гуглом, нашел заумные методики. Интересует простой расчет S параметра.
| Вложения: |

metodika_rash.GIF [ 10.08 Кб | Просмотров: 6146 ]
|
_________________ Азбуку учил по журналам " Радио " Учу пользоваться www.google.ru Дорого. " Удлиняю дальность связи. Подрезаю антенны по частоте. Пользуюсь прибором..." - плагиат с радио сканера... ;) UB1ATS LPDnet - SP209
|
|
| Вернуться наверх |
|
 |
|
RA1AEE
|
Заголовок сообщения: Re: Расчет уровня изоляции приемника от передатчика в дуплек Добавлено: Вс 06 окт 2013 23:22 |
|
Зарегистрирован: Чт 28 янв 2010 01:00 Сообщений: 368 Откуда: SP-12, KP50CA
|
|
| Вернуться наверх |
|
 |
|
medvedko
|
Заголовок сообщения: Re: Расчет уровня изоляции приемника от передатчика в дуплек Добавлено: Пн 07 окт 2013 14:59 |
|
Зарегистрирован: Пт 08 май 2009 00:00 Сообщений: 273 Откуда: г.Герой-Ленинград.
|
|
Спасибо. Видел.
_________________ Азбуку учил по журналам " Радио " Учу пользоваться www.google.ru Дорого. " Удлиняю дальность связи. Подрезаю антенны по частоте. Пользуюсь прибором..." - плагиат с радио сканера... ;) UB1ATS LPDnet - SP209
|
|
| Вернуться наверх |
|
 |
|
Страница 1 из 1
|
[ Сообщений: 3 ] |
|
Кто сейчас на форуме |
Сейчас этот форум просматривают: нет зарегистрированных пользователей и гости: 2 |
|
Вы не можете начинать темы Вы не можете отвечать на сообщения Вы не можете редактировать свои сообщения Вы не можете удалять свои сообщения Вы не можете добавлять вложения
|
|