Сообщения без ответов | Активные темы
| Автор |
Сообщение |
|
UB1AJU
|
Заголовок сообщения: Антенный тюнер на УКВ Добавлено: Пт 15 апр 2016 23:36 |
|
Зарегистрирован: Ср 17 фев 2016 23:37 Сообщений: 743 Откуда: Locator: KO59CU
|
|
| Вернуться наверх |
|
 |
|
RL1L
|
Заголовок сообщения: Re: Антенный тюнер на УКВ Добавлено: Сб 16 апр 2016 00:24 |
|
Зарегистрирован: Пт 26 фев 2016 21:49 Сообщений: 1163 Откуда: Славянка
|
|
Конечно необходим! Особенно на УКВ, где каждый лишний сантиметр кабеля пытается трансформировать сопротивление и для хорошего согласования между фидером и трансивером желательно применять согласующее устройство. Не один год применяю для согласования на УКВ между ALINCO-130 и кабелем согласующее устройство п-типа, два конденсатора керамических трубчатых по 15 пф и катушка три ветка из провода ПЭВ-1 1мм на каркасе диаметром 10 мм.
_________________ Анатолий Анатольевич. ex.( RA0C, EY9AF, RA6XPL, RA6PS, RA6PGY).
|
|
| Вернуться наверх |
|
 |
|
UB1AJU
|
Заголовок сообщения: Re: Антенный тюнер на УКВ Добавлено: Сб 16 апр 2016 00:32 |
|
Зарегистрирован: Ср 17 фев 2016 23:37 Сообщений: 743 Откуда: Locator: KO59CU
|
RL1L писал(а): Конечно необходим! Особенно на УКВ, где каждый лишний сантиметр кабеля пытается трансформировать сопротивление и для хорошего согласования между фидером и трансивером желательно применять согласующее устройство. Не один год применяю для согласования на УКВ между ALINCO-130 и кабелем согласующее устройство п-типа, два конденсатора керамических трубчатых по 15 пф и катушка три ветка из провода ПЭВ-1 1мм на каркасе диаметром 10 мм. А настройка? Растяжением/сжатием витков? А вот как насчет идеи настраивать катушку с помощью латунного сердечника?
_________________ Знай я раньше то, что я знаю теперь, я бы не знал этого. (с) Станислав Ежи Лец
|
|
| Вернуться наверх |
|
 |
|
RL1L
|
Заголовок сообщения: Re: Антенный тюнер на УКВ Добавлено: Сб 16 апр 2016 00:42 |
|
Зарегистрирован: Пт 26 фев 2016 21:49 Сообщений: 1163 Откуда: Славянка
|
|
Совершенно верно, растяжением и сжатием витков, а также подстроечными трубчатыми конденсаторами. Выше в посте не обозначил , что конденсаторы подстроечные. Латунный сердечник применять не желательно, уменьшит добротность катушки, да и как его крепить на катушку диаметром 10мм, только если катушка на каркасе, а это лишние потери и опять уменьшение добротности. На укв желательно обходиться без каркасов и без сердечников, провод по выбирать большего диаметра.
_________________ Анатолий Анатольевич. ex.( RA0C, EY9AF, RA6XPL, RA6PS, RA6PGY).
|
|
| Вернуться наверх |
|
 |
|
UB1AJU
|
Заголовок сообщения: Re: Антенный тюнер на УКВ Добавлено: Сб 16 апр 2016 11:00 |
|
Зарегистрирован: Ср 17 фев 2016 23:37 Сообщений: 743 Откуда: Locator: KO59CU
|
RL1L писал(а): Совершенно верно, растяжением и сжатием витков, а также подстроечными трубчатыми конденсаторами. Выше в посте не обозначил , что конденсаторы подстроечные. Латунный сердечник применять не желательно, уменьшит добротность катушки, да и как его крепить на катушку диаметром 10мм, только если катушка на каркасе, а это лишние потери и опять уменьшение добротности. На укв желательно обходиться без каркасов и без сердечников, провод по выбирать большего диаметра. Именно трубчатые нужны? У меня лежат без дела пластинчатые с воздушным диэлектриком.
_________________ Знай я раньше то, что я знаю теперь, я бы не знал этого. (с) Станислав Ежи Лец
|
|
| Вернуться наверх |
|
 |
|
RL1L
|
Заголовок сообщения: Re: Антенный тюнер на УКВ Добавлено: Сб 16 апр 2016 12:04 |
|
Зарегистрирован: Пт 26 фев 2016 21:49 Сообщений: 1163 Откуда: Славянка
|
UB1AJU писал(а): RL1L писал(а): . Именно трубчатые нужны? У меня лежат без дела пластинчатые с воздушным диэлектриком. Нет не обязательно, какие были под рукой. С воздушным диэлектриком можно и нужно применять в согласующих устройствах. Единственное что, нужно определиться со схемой согласующего устройства. Я бы рекомендовал применять согласующее устройство на базе ФНЧ разных типов: П-типа, Т-типа, фнч помимо согласования еще дополнительно от фильтрует высшие гармоники в сигнале, что благоприятно скажется на помеховой обстановке.
_________________ Анатолий Анатольевич. ex.( RA0C, EY9AF, RA6XPL, RA6PS, RA6PGY).
|
|
| Вернуться наверх |
|
 |
|
UB1AJU
|
Заголовок сообщения: Re: Антенный тюнер на УКВ Добавлено: Вс 17 апр 2016 01:59 |
|
Зарегистрирован: Ср 17 фев 2016 23:37 Сообщений: 743 Откуда: Locator: KO59CU
|
RL1L писал(а): Я бы рекомендовал применять согласующее устройство на базе ФНЧ разных типов: П-типа, Т-типа, фнч помимо согласования еще дополнительно от фильтрует высшие гармоники в сигнале, что благоприятно скажется на помеховой обстановке. Каскадно соединить?
_________________ Знай я раньше то, что я знаю теперь, я бы не знал этого. (с) Станислав Ежи Лец
|
|
| Вернуться наверх |
|
 |
|
RL1L
|
Заголовок сообщения: Re: Антенный тюнер на УКВ Добавлено: Вс 17 апр 2016 10:10 |
|
Зарегистрирован: Пт 26 фев 2016 21:49 Сообщений: 1163 Откуда: Славянка
|
UB1AJU писал(а): RL1L писал(а): Я бы рекомендовал применять согласующее устройство на базе ФНЧ разных типов: П-типа, Т-типа, фнч помимо согласования еще дополнительно от фильтрует высшие гармоники в сигнале, что благоприятно скажется на помеховой обстановке. Каскадно соединить? При соединении нескольких фильтров для использования в качестве согласующего устройства, усложняет настройку. Проще использовать для трансформации фнч 3 порядка т.е всего три элемента в фильтре, ну например если п-типа , то два конденсатора на корпус, а между ними катушка или т-типа, две катушки соединенные последовательно и из места соединения катушек конденсатор на корпус. В данном случае фильтр играет роль трансформатора сопротивлений, настройка проще, а вот если необходима большая фильтрация сигнала, то фильтр любого порядка 3,5,7 и т.д. нужно установить между согласующим устройством и трансивером. Радиостанция имеет выход 50 ом, далее следует фнч с выходом и входом на 50 ом любого порядка для создания необходимого подавления высших гармоник, а далее уже фнч он же трансформатор сопротивления для согласования с фидером. Где согласующему устройству нужно 50 ом со стороны трансивера трансформировать в какое-то сопротивление со стороны фидера.
_________________ Анатолий Анатольевич. ex.( RA0C, EY9AF, RA6XPL, RA6PS, RA6PGY).
|
|
| Вернуться наверх |
|
 |
|
RL1L
|
Заголовок сообщения: Re: Антенный тюнер на УКВ Добавлено: Вс 17 апр 2016 16:12 |
|
Зарегистрирован: Пт 26 фев 2016 21:49 Сообщений: 1163 Откуда: Славянка
|
|
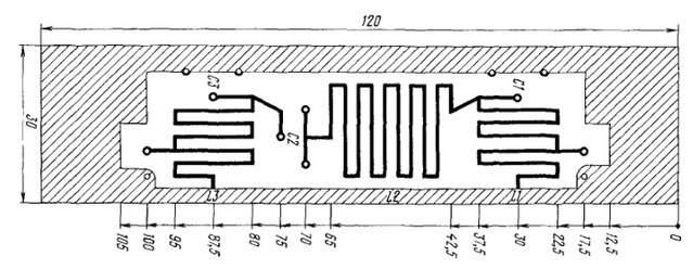
Вот простой ФНЧ на 145 мгц.
| Вложения: |

ФНЧ-2.jpg [ 246.05 Кб | Просмотров: 21041 ]
|

ФНЧ-1.jpg [ 218.22 Кб | Просмотров: 21041 ]
|
_________________ Анатолий Анатольевич. ex.( RA0C, EY9AF, RA6XPL, RA6PS, RA6PGY).
|
|
| Вернуться наверх |
|
 |
|
UB1AJU
|
Заголовок сообщения: Re: Антенный тюнер на УКВ Добавлено: Вс 17 апр 2016 17:20 |
|
Зарегистрирован: Ср 17 фев 2016 23:37 Сообщений: 743 Откуда: Locator: KO59CU
|
RL1L писал(а): Вот простой ФНЧ на 145 мгц. Я еще вот такой вариант от В.Беседина нашел. Есть полная статья.
| Вложения: |

Безымянный1.jpg [ 19.58 Кб | Просмотров: 21034 ]
|

Безымянный.jpg [ 77.94 Кб | Просмотров: 21034 ]
|
_________________ Знай я раньше то, что я знаю теперь, я бы не знал этого. (с) Станислав Ежи Лец
|
|
| Вернуться наверх |
|
 |
|
UA1AMT
|
Заголовок сообщения: Re: Антенный тюнер на УКВ Добавлено: Вт 19 апр 2016 13:57 |
|
Зарегистрирован: Ср 22 окт 2008 00:00 Сообщений: 239
|
|
Вообще, на УКВ, стараются сразу согласовать антенну в точке соединения с кабелем, потому и тюнеры не используют.
|
|
| Вернуться наверх |
|
 |
|
RL1L
|
Заголовок сообщения: Re: Антенный тюнер на УКВ Добавлено: Вт 19 апр 2016 15:20 |
|
Зарегистрирован: Пт 26 фев 2016 21:49 Сообщений: 1163 Откуда: Славянка
|
UA1AMT писал(а): Вообще, на УКВ, стараются сразу согласовать антенну в точке соединения с кабелем, потому и тюнеры не используют. Стараются везде согласовать и на УКВ и на КВ, но не всегда выходит, по разным причинам.
_________________ Анатолий Анатольевич. ex.( RA0C, EY9AF, RA6XPL, RA6PS, RA6PGY).
|
|
| Вернуться наверх |
|
 |
|
UA1AMT
|
Заголовок сообщения: Re: Антенный тюнер на УКВ Добавлено: Вт 19 апр 2016 15:41 |
|
Зарегистрирован: Ср 22 окт 2008 00:00 Сообщений: 239
|
RL1L писал(а): Стараются везде согласовать и на УКВ и на КВ, но не всегда выходит, по разным причинам. На УКВ, антенна изначально всегда рассчитывается и изготавливается с определённым сопротивлением и если не получилось, то это огрехи изготовления и лучше сделать заново антенну, чем согласовывать внизу. К тому же, полоса с приемлемым ксв обычно перекрывает чуть ли не весь диапазон и нет необходимости что-то подстраивать. Конечно можно и внизу ещё что-то прилепить, но так никто обычно не делает, потому и конструкций нет.
|
|
| Вернуться наверх |
|
 |
|
RL1L
|
Заголовок сообщения: Re: Антенный тюнер на УКВ Добавлено: Вт 19 апр 2016 16:00 |
|
Зарегистрирован: Пт 26 фев 2016 21:49 Сообщений: 1163 Откуда: Славянка
|
UA1AMT писал(а): RL1L писал(а): Стараются везде согласовать и на УКВ и на КВ, но не всегда выходит, по разным причинам. На УКВ, антенна изначально всегда рассчитывается и изготавливается с определённым сопротивлением и если не получилось, то это огрехи изготовления и лучше сделать заново антенну, чем согласовывать внизу. К тому же, полоса с приемлемым ксв обычно перекрывает чуть ли не весь диапазон и нет необходимости что-то подстраивать. Конечно можно и внизу ещё что-то прилепить, но так никто обычно не делает, потому и конструкций нет. Я с вами полностью согласен, что лишние согласующие цепи уменьшают КПД антенно-фидерного тракта, что надо стремиться согласовывать без согласующих устройств, но в жизни бывают разные случаи. Например не было под "рукой" 50 омного кабеля запитывал антенну 3х5/8 75 омным кабелем, хорошим кабелем с малыми потерями, для трансформации сопротивлений использовал согласующие устройства на базе ФНЧ п-типа. При изготовлении стеков из нескольких 50 омных антенн часто применяют согласующие устройства в виде кусков кабелей с разным волновым сопротивлением, мы на них я думаю по позже остановимся, тема то интересная, просто сейчас затронули согласующие устроуства на сосредоточенных элементах (катушках, конденсаторах) далее осветим и на распределенных, на линиях и т.д.
_________________ Анатолий Анатольевич. ex.( RA0C, EY9AF, RA6XPL, RA6PS, RA6PGY).
|
|
| Вернуться наверх |
|
 |
|
RK1AQ
|
Заголовок сообщения: Re: Антенный тюнер на УКВ Добавлено: Ср 20 апр 2016 07:30 |
|
 |
| exRA1AGG |
 |
Зарегистрирован: Пт 02 янв 2009 01:00 Сообщений: 1086 Откуда: Славянка
|
|
| Вернуться наверх |
|
 |
Кто сейчас на форуме |
Сейчас этот форум просматривают: нет зарегистрированных пользователей и гости: 3 |
|
Вы не можете начинать темы Вы не можете отвечать на сообщения Вы не можете редактировать свои сообщения Вы не можете удалять свои сообщения Вы не можете добавлять вложения
|
|