Сообщения без ответов | Активные темы
| Автор |
Сообщение |
|
RL1L
|
Заголовок сообщения: Re: Удочка на балконе Добавлено: Вт 03 мар 2020 09:57 |
|
Зарегистрирован: Пт 26 фев 2016 21:49 Сообщений: 1163 Откуда: Славянка
|
|
Про КПД "балконных" антенн: 1. MFJ-1675 длина антенны около 2.5 метров 2. MFJ-1625 длина антенны около 3.5 метров 3. MFJ-1664 длина антенны около 3 метров 4. MFJ -1899T длина антенны около 2 метров 5. Diamond SD330 длина около 2 метров Какой КПД у антенн такой длины на 80 метровом диапазоне, да ни какой и поэтому антенна BB7V длиной 6 метров на их фоне выглядит значительно лучше. У всех этих антенн очень низкий КПД, но при этом их продают и самое интересное их покупают. Понятно, что применение таких антенн не от хорошей радиолюбительской жизни, а из-за ограниченности места.
_________________ Анатолий Анатольевич. ex.( RA0C, EY9AF, RA6XPL, RA6PS, RA6PGY).
|
|
| Вернуться наверх |
|
 |
|
RA1AHQ
|
Заголовок сообщения: Re: Удочка на балконе Добавлено: Вт 03 мар 2020 12:17 |
|
Зарегистрирован: Сб 16 авг 2008 00:00 Сообщений: 4129 Откуда: Ligovo
|
Diamond BB7V это телескопический штырь длиной 6.6м для портативного или стационарного использования, имеет КСВ меньше 2 во всей полосе (согласующий ШПТ балун в комплекте). Крепление производится к мачте - типа U-болт. Антенна похожа на знаменитую Comet CHA-250B. Материалы согласующего подобраны для низкого КСВ на НЧ. Эффективность от -20 дБ на 3.5 МГц, -10 дБ на 7 МГц до 0 дБ на 14, 18, 21, 25 МГц https://g8jnj.net/cometcha250b.htmЭффективность рассчитана относительно автотюнера CG-3000 подключенного к вертикальному проводу и множества противовесов на уровне земли.
|
|
| Вернуться наверх |
|
 |
|
UA1AQC
|
Заголовок сообщения: Re: Удочка на балконе Добавлено: Вт 03 мар 2020 16:58 |
|
Зарегистрирован: Вт 03 фев 2015 16:12 Сообщений: 217 Откуда: KO59ar Красное Село
|
RL1L писал(а): Про КПД "балконных" антенн: 1. MFJ-1675 длина антенны около 2.5 метров 2. MFJ-1625 длина антенны около 3.5 метров 3. MFJ-1664 длина антенны около 3 метров 4. MFJ -1899T длина антенны около 2 метров 5. Diamond SD330 длина около 2 метров Какой КПД у антенн такой длины на 80 метровом диапазоне, да ни какой и поэтому антенна BB7V длиной 6 метров на их фоне выглядит значительно лучше. У всех этих антенн очень низкий КПД, но при этом их продают и самое интересное их покупают. Понятно, что применение таких антенн не от хорошей радиолюбительской жизни, а из-за ограниченности места. Вообще-то это screwdrivers/stick антенны, дословно - отвертка, и предназначены они чуть-чуть выдвинуться в эфир, чтоб не дразнили наблюдателем.У самого есть 1620t и 1615t , обе использовал временно дома(20w) , работают неплохо.Удочка 7 м с балкона (7эт.) получше на 20м , но и на 17-15 м с резонансной длиной неплохо.Тюнером можно вытащить соседний диапазон, например с 17 на 15м.На машине эти стики работают лучше всего, но надо подбирать длину, подстраивать.Без нормальной земли они не работают.
| Вложения: |

SAM_6087.JPG [ 446.18 Кб | Просмотров: 9961 ]
|
|
|
| Вернуться наверх |
|
 |
|
DL1AIE
|
Заголовок сообщения: Re: Удочка на балконе Добавлено: Вс 08 мар 2020 15:42 |
|
 |
| Site Webmaster |
 |
Зарегистрирован: Вс 17 фев 2008 01:00 Сообщений: 4528 Откуда: JO40ME
|
В итоге получилась у меня вот такая конструкция. Общая длина удилища - 6 метров. С балкона вверх торчит 5 метров. Использован провод сечением 1 квадрат, длина 20 метров. Снизу этим проводом намотана катушка, все остальное - широкими витками вверх по удилищу. Антенна подключается к балуну LDG RBA 4:1, заземление взято с металлического ограждения балкона. Дальше 5 метров кабеля RG-58 до трансивера. КСВ на 3.630 равен 2, выше-ниже уезжает в 3+, но тюнером строится. На 40 тоже строится без особых проблем. Шумит конечно изрядно, 7-8 баллов на 80 и 9 баллов на 40. КПД... На 40 работал мощностью 25 Вт, Европа и российские 3 и 6 районы вполне отвечали. Пробовали сработать с Никитой RA1AO - слышали друг друга, но на уровне присутствия. На 80 на передачу поработать пока не удалось - вчера там слышал только CQ Contest. Но как минимум на прием на 80 эта удочка работает неплохо. Буду рад критике и советам 
| Вложения: |

photo_2020-03-08_12-35-04.jpg [ 88.79 Кб | Просмотров: 9819 ]
|
_________________ Владислав ex RA1AIE
|
|
| Вернуться наверх |
|
 |
|
RA1AHQ
|
Заголовок сообщения: Re: Удочка на балконе Добавлено: Пн 09 мар 2020 04:02 |
|
Зарегистрирован: Сб 16 авг 2008 00:00 Сообщений: 4129 Откуда: Ligovo
|
Смоделировал. Владислав, чтобы получить R=50 Ом, нужно уложить 0.28-0.29 лямда провода (около 23.5 метров для 3.6 МГц), небольшая индуктивность около 2-3 мкГн для компенсации -jX. В антенне, что на фото, недостающие 3-4 метра полотна намотаны на катушку в основании. Вложение:
spira.zip [2.81 Кб]
Скачиваний: 382
Так как MMANA не взяла 1024 проводников, то длина провода в модели соответствует 10 МГц. Если уложить на удочку 0.49 лямда провода, тогда усиление около 0 Дб при высоком Rвх=200...300 Ом и возможен индуктивный характер Z - компенсируется ёмкостью или тюнером . Такая полуволновая антенна работает как EndFed и не требовательна к качеству земли. (Соответственно, на НЧ КВ, если скомпенсировать очень большую ёмкостную реактивность, то можно и на 1.8 МГц работать с КУ=-10 дБ (КПД=10%), нужна очень хорошая земля). В примере - если один диапазон 3.6МГц, то для наибольшей эффективности нужно намотать на удочку 40 метров провода. Если нужен один диапазон 7 МГц - взять 20 метров (это половина волны на 7 МГц) - тогда тюнер в основании удочки согласует с 300 Ом до 50 Ом. При двух диапазонах одновременно, то антенна с длиной провода 20м в диапазоне 3.6МГц получается компромиссной (усиление -5 дБ). Если цель - только 3.6 МГц (7 МГц выкидываем) то как написал выше, лучше намотать 23.5 метра провода (для 50 Ом) или 40м провода (для высокого Rвх и высокого КПД). Вместо балуна 4:1 лучше использовать тюнер (ручной или автоматический) в основании.
|
|
| Вернуться наверх |
|
 |
|
DL1AIE
|
Заголовок сообщения: Re: Удочка на балконе Добавлено: Пн 09 мар 2020 04:35 |
|
 |
| Site Webmaster |
 |
Зарегистрирован: Вс 17 фев 2008 01:00 Сообщений: 4528 Откуда: JO40ME
|
Спасибо за моделирование  Просто намотать провод (около 20 метров при длине удилища на тот момент 4 метра) я пробовал. Это работало на 40, но на 80 - вообще никак. КСВ = бесконечность, тюнер сразу уходил в защиту, и почти полное отсутствие приема. С тем, что на фото, удалось добиться хоть какой-то работы на 80м. На прием эта антенна показала себя неплохо - слышу всю Европу и российские 3 и 6 районы, а вот на передачу (100 Вт) пока все не настолько радужно - в основном местные связи, 200-350 км. Но я пока только начал ее тестировать, скоро у нас будет SSB контест на 80, попробую в нем поработать. Сейчас длина используемой части удилища (от основания катушки и до конца) - 5 метров. Общее количество провода ( катушка + излучатель) все так же +- 20 метров. Длина катушки около 25 см. Диаметр колена, вокруг которого намотана катушка - около 32-35 мм. Поставить тюнер под антенной возможности нет - я работаю на TS-480SAT, тюнер там встроенный. Земля у меня средней паршивости - ограждение балкона, оно заземлено на общую шину, но... Это последний этаж 4-этажки. Соответственно сколько там от балкона до точки разводки "земли", хрен его знает. Задача мультидиапазонности не стоит. Хочется сделать максимально эффективную в данных обстоятельствах антенну на 3.6-3.7 МГц. Насчет 40 метров провода идея интересная, но меня терзают смутные сомнения - при длине удилища в 5 метров витки будут идти очень близко. Получится практически катушка, нет?
_________________ Владислав ex RA1AIE
|
|
| Вернуться наверх |
|
 |
|
RA1ATE
|
Заголовок сообщения: Re: Удочка на балконе Добавлено: Пн 09 мар 2020 22:26 |
|
Зарегистрирован: Вс 03 май 2009 00:00 Сообщений: 219 Откуда: Saint-Petersburg
|
|
| Вернуться наверх |
|
 |
|
DL1AIE
|
Заголовок сообщения: Re: Удочка на балконе Добавлено: Пн 09 мар 2020 23:19 |
|
 |
| Site Webmaster |
 |
Зарегистрирован: Вс 17 фев 2008 01:00 Сообщений: 4528 Откуда: JO40ME
|
RA1ATE писал(а): Недавно наткнулся на такую статью - http://men2323.blogspot.com/2014/11/ub8jam.htmlПо сути - эндфид, с питанием от высокомного трансформатора. Но удилище нужно чуть длинее - 7 метров. Да тут выше эти антенны уже обсуждали.
_________________ Владислав ex RA1AIE
|
|
| Вернуться наверх |
|
 |
|
RA1AHQ
|
Заголовок сообщения: Re: Удочка на балконе Добавлено: Вт 10 мар 2020 00:46 |
|
Зарегистрирован: Сб 16 авг 2008 00:00 Сообщений: 4129 Откуда: Ligovo
|
Про использование коротких 2-6 м антенн на КВ 2-4 МГц. Разъясняется роль удлиняющей катушки (антенна с катушкой должна быть настроена на верхнюю частоту диапазона, для нас 3.8 МГц) совместно с согласующим устройством. Судовые КВ антенны: https://nauticshow.ru/ru/miscellaneous/ ... /1_22.htmlЗависимость импеданса от частоты и высоты антенны: Вложение:
IMG_20200309_234257_442.jpg [ 34.3 Кб | Просмотров: 9655 ]
https://www.comrod.com/products/commercial-marine-antennas/marine-antenna-product-selector/?fwp_frequency_group=hf&fwp_antenna_type=monopole&fwp_height_m=4.00%2C8.00 Очевидно, что если антенна выполнена в виде цельного штыря или вертикального провода, на НЧ КВ нужна катушка в основании для компенсации ёмкостной составляющей Z.
|
|
| Вернуться наверх |
|
 |
|
DL1AIE
|
Заголовок сообщения: Re: Удочка на балконе Добавлено: Вт 10 мар 2020 01:38 |
|
 |
| Site Webmaster |
 |
Зарегистрирован: Вс 17 фев 2008 01:00 Сообщений: 4528 Откуда: JO40ME
|
|
Спасибо за информацию. Но меня больше интересует идея с 40 метрами провода... Кто-нибудь пытался такое делать?
_________________ Владислав ex RA1AIE
|
|
| Вернуться наверх |
|
 |
|
RL1L
|
Заголовок сообщения: Re: Удочка на балконе Добавлено: Вт 10 мар 2020 14:38 |
|
Зарегистрирован: Пт 26 фев 2016 21:49 Сообщений: 1163 Откуда: Славянка
|
|
Применение полноразмерных антенн на низкочастотных любительских диапазонах вызывает определенные трудности
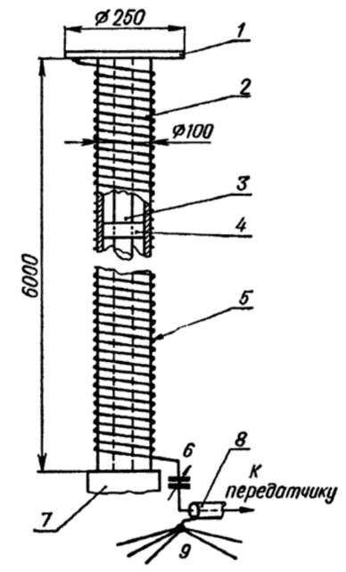
По этой причине радиолюбители коротковолновики нередко используют для своих передатчиков, особенно в 80 м диапазоне, укороченные антенны, хотя они и обладают худшими параметрами по сравнению с полноразмерными антеннами. Вертикальная антенна, описание которой приведено ниже, предназначенная для работы на 80 м диапазоне, имеет полную высоту несколько более 6 м. Основой конструкции антенны является труба 2 диаметром 100 мм и длиной 6 м, выполненная из диэлектрика (пластика). Внутри трубы для придания ей механической прочности расположен деревянный брусок 3 с распорками 4, которые соприкасаются с внутренней поверхностью трубы. Антенна установлена на основании 7. На трубу наматывают примерно 40 м медного одножильного провода 5 диаметром 2 мм, имеющего влагостойкую изоляцию. Шаг намотки выбирается из расчета, чтобы весь провод был равномерно намотан на трубу. Верхний конец провода припаивают к латунному диску 1 диаметром 250 мм, а нижний - через конденсатор переменной емкости 6 соединяют с центральной жилой коаксиально кабеля 8. Этот конденсатор должен иметь максимальную емкость около 150 пФ и по качеству (номинальное напряжение и т.д.) не должен уступать конденсатору, используемому в резонансном контуре выходного каскада передатчика.
Как и всякая вертикальная антенна, эта антенна требует наличия хорошего заземления или противовеса 9. Настройка и согласование антенны с фидером производится изменением емкости конденсатора 6, а при необходимости изменением длины провода, намотанного на трубу. Добротность такой антенны выше и, следовательно, ширина ее полосы пропускания уже, чем у обычного четвертьволнового вибратора.
Построенная радиолюбителем WA0WHE подобная антенна с противовесом из четырех проводов имеет КСВ до 2 в полосе пропускания шириной около 80-100 кГц. Питание антенны осуществляется по коаксиальному кабелю с волновым сопротивлением 50 Ом.
"QST". 1972, январь
| Вложения: |

uvert_ant.gif [ 73.17 Кб | Просмотров: 9582 ]
|
_________________ Анатолий Анатольевич. ex.( RA0C, EY9AF, RA6XPL, RA6PS, RA6PGY).
|
|
| Вернуться наверх |
|
 |
|
DL1AIE
|
Заголовок сообщения: Re: Удочка на балконе Добавлено: Вт 10 мар 2020 15:41 |
|
 |
| Site Webmaster |
 |
Зарегистрирован: Вс 17 фев 2008 01:00 Сообщений: 4528 Откуда: JO40ME
|
О. Это уже интересно. Спасибо!  Поскольку в теории я не шибко силен - может кто-нибудь пояснить функцию, которую тут выполняет латунный диск, и можно ли выполнить все то же самое при длине удочки 5 метров?
_________________ Владислав ex RA1AIE
|
|
| Вернуться наверх |
|
 |
|
RL1L
|
Заголовок сообщения: Re: Удочка на балконе Добавлено: Вт 10 мар 2020 16:21 |
|
Зарегистрирован: Пт 26 фев 2016 21:49 Сообщений: 1163 Откуда: Славянка
|
|
Да, можно и на удочке 5 метров, все тоже самое выполнить. Латунный диск можно заменить штырем 30-50 см, а провод длиной 40 метров равномерно распределить по удилищу. Второй конец кабеля к устройству типа "искусственная земля" (желательно, если есть).
_________________ Анатолий Анатольевич. ex.( RA0C, EY9AF, RA6XPL, RA6PS, RA6PGY).
|
|
| Вернуться наверх |
|
 |
|
DL1AIE
|
Заголовок сообщения: Re: Удочка на балконе Добавлено: Вт 10 мар 2020 16:28 |
|
 |
| Site Webmaster |
 |
Зарегистрирован: Вс 17 фев 2008 01:00 Сообщений: 4528 Откуда: JO40ME
|
RL1L писал(а): Да, можно и на удочке 5 метров, все тоже самое выполнить. Латунный диск можно заменить штырем 30-50 см, а провод длиной 40 метров равномерно распределить по удилищу. Второй конец кабеля к устройству типа "искусственная земля" (желательно, если есть). Увы, такого девайса нет. В наличии только "недоземля" в виде ограждения балкона, балун (но как я понимаю его лучше из данной схемы выкинуть) и кабель. Поставить тюнер непосредственно под антенну возможности нет.
_________________ Владислав ex RA1AIE
|
|
| Вернуться наверх |
|
 |
|
RL1L
|
Заголовок сообщения: Re: Удочка на балконе Добавлено: Вт 10 мар 2020 17:05 |
|
Зарегистрирован: Пт 26 фев 2016 21:49 Сообщений: 1163 Откуда: Славянка
|
|
Ну нет "искусственной земли" ну и ладно, значит без нее. Вот как раз трансформатор 4:1, для полуволновой спирали и нужен. У нее входное сопротивление около 300-400 Ом, ну от местных условий зависит и от конструкции (диаметр провода, удочки, высота от земли и т.д.), а далее уже тюнер трансивера согласует.
_________________ Анатолий Анатольевич. ex.( RA0C, EY9AF, RA6XPL, RA6PS, RA6PGY).
|
|
| Вернуться наверх |
|
 |
Кто сейчас на форуме |
Сейчас этот форум просматривают: нет зарегистрированных пользователей и гости: 3 |
|
Вы не можете начинать темы Вы не можете отвечать на сообщения Вы не можете редактировать свои сообщения Вы не можете удалять свои сообщения Вы не можете добавлять вложения
|
|