Сообщения без ответов | Активные темы
|
Страница 1 из 1
|
[ Сообщений: 5 ] |
|
| Автор |
Сообщение |
|
RD1AJ
|
Заголовок сообщения: УМ на ГК-71 Добавлено: Вс 03 мар 2013 09:30 |
|
Зарегистрирован: Пт 08 фев 2013 22:39 Сообщений: 36
|
|
Господа требуется , полностью законченная, и отработанная схема УМ на одной лампе ГК-71.
|
|
| Вернуться наверх |
|
 |
|
R1CN
|
Заголовок сообщения: Re: УМ на ГК-71 Добавлено: Вс 03 мар 2013 09:39 |
|
 |
| Silent Key |
 |
Зарегистрирован: Ср 14 янв 2009 01:00 Сообщений: 6980 Откуда: Тихвин-город воинской славы.
|
|
Да хоть сколько! Вот, к примеру, одна из десятка ...
| Вложения: |

IMG_0001.jpg [ 97.6 Кб | Просмотров: 32383 ]
|
|
|
| Вернуться наверх |
|
 |
|
R1CN
|
Заголовок сообщения: Re: УМ на ГК-71 Добавлено: Вс 03 мар 2013 09:47 |
|
 |
| Silent Key |
 |
Зарегистрирован: Ср 14 янв 2009 01:00 Сообщений: 6980 Откуда: Тихвин-город воинской славы.
|
|
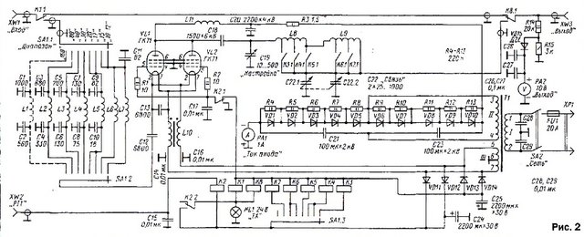
Или еще одна со всеми современными наворотами. Оставьте одну лампу. Но первая проще и лучше, правда раскачка нужна больше!
| Вложения: |

IMG_0002.jpg [ 162.14 Кб | Просмотров: 32382 ]
|
|
|
| Вернуться наверх |
|
 |
|
RD1AJ
|
Заголовок сообщения: Re: УМ на ГК-71 Добавлено: Вс 03 мар 2013 10:11 |
|
Зарегистрирован: Пт 08 фев 2013 22:39 Сообщений: 36
|
|
Спасибо.А полное описание с данными катушек и так далее на последнюю схему где посмотреть.
|
|
| Вернуться наверх |
|
 |
|
R1CN
|
Заголовок сообщения: Re: УМ на ГК-71 Добавлено: Вс 03 мар 2013 10:22 |
|
 |
| Silent Key |
 |
Зарегистрирован: Ср 14 янв 2009 01:00 Сообщений: 6980 Откуда: Тихвин-город воинской славы.
|
|
Это разработка и личное исполнение Якова Семеновича UA1FA.
Я.Лаповок. "Киловатт на ГК-71", "Радио", №10, с.66-68.
|
|
| Вернуться наверх |
|
 |
|
Страница 1 из 1
|
[ Сообщений: 5 ] |
|
Кто сейчас на форуме |
Сейчас этот форум просматривают: нет зарегистрированных пользователей и гости: 0 |
|
Вы не можете начинать темы Вы не можете отвечать на сообщения Вы не можете редактировать свои сообщения Вы не можете удалять свои сообщения Вы не можете добавлять вложения
|
|