Сообщения без ответов | Активные темы
| Автор |
Сообщение |
|
RA1CAG
|
Заголовок сообщения: Re: Ремонт лампового приемника Добавлено: Чт 15 ноя 2012 00:25 |
|
Зарегистрирован: Вт 22 ноя 2011 00:44 Сообщений: 1424 Откуда: Eastside Murino
|
|
Интересный агрегат. Он так и был, без корпуса?!
|
|
| Вернуться наверх |
|
 |
|
R1AAF
|
Заголовок сообщения: Re: Ремонт лампового приемника Добавлено: Чт 15 ноя 2012 00:27 |
|
Зарегистрирован: Вс 15 фев 2009 01:00 Сообщений: 2299 Откуда: Санкт-Петербург
|
UB1CAG писал(а): Он так и был, без корпуса?! Стр. 1 этой темы - там фото с корпусом. Ручки одной оригинальной до полного счастья не хватает.
_________________ Олег
|
|
| Вернуться наверх |
|
 |
|
lihod1976
|
Заголовок сообщения: Re: Ремонт лампового приемника Добавлено: Ср 03 июл 2013 12:58 |
|
Зарегистрирован: Пн 24 июн 2013 22:54 Сообщений: 1
|
|
Интересует реставрация приёмника Telefunken 1938 года в СПб или пригороде. можете помочь?
|
|
| Вернуться наверх |
|
 |
|
R1CN
|
Заголовок сообщения: Re: Ремонт лампового приемника Добавлено: Ср 03 июл 2013 14:46 |
|
 |
| Silent Key |
 |
Зарегистрирован: Ср 14 янв 2009 01:00 Сообщений: 6980 Откуда: Тихвин-город воинской славы.
|
Lihod 1976! Вопрос Ваш был, видимо, к Олегу Михайловичу R1AAF Но с его разрешения, конечно, если он даст его, я смогу Вам помочь. Запчасти, время, приборы, инструмент, возможность, желание и ... опыт, имеются в наличии. Об остальном, если сочтет возможным, скажет сам Олег Михайлович ...
|
|
| Вернуться наверх |
|
 |
|
R1AAF
|
Заголовок сообщения: Re: Ремонт лампового приемника Добавлено: Ср 03 июл 2013 15:19 |
|
Зарегистрирован: Вс 15 фев 2009 01:00 Сообщений: 2299 Откуда: Санкт-Петербург
|
Александр Константинович, ну не надо стрелы переводить. Я то тут при чем? Вы приемники восстанавливаете - Вам и карты, т.е схемы в руки.  Буду с удовольствием следить за развитием.
_________________ Олег
|
|
| Вернуться наверх |
|
 |
|
Belka
|
Заголовок сообщения: Re: Ремонт лампового приемника Добавлено: Ср 03 июл 2013 20:10 |
|
Зарегистрирован: Вт 05 мар 2013 20:31 Сообщений: 40 Откуда: UB1AHC
|
|
| Вернуться наверх |
|
 |
|
R1CN
|
Заголовок сообщения: Re: Ремонт лампового приемника Добавлено: Сб 06 июл 2013 01:21 |
|
 |
| Silent Key |
 |
Зарегистрирован: Ср 14 янв 2009 01:00 Сообщений: 6980 Откуда: Тихвин-город воинской славы.
|
|
Нет это другой совсем приемник.
Сегодня был в Питере у Дмитрия и взял его для восстановления.
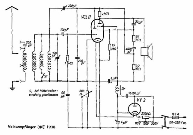
Имя приемника Telefunken DKE 38
Действительно год выпуска его 1938, что и подтвердилось при осмотре деталей. Внешний осмотр на месте предварительно показал:
- блок питания ремонтировался видимо несколько лет назад, фирменный конденсатор фильтра заменен на более позднего выпуска. - Следы не так дальних по времени паек видны еще в нескольких точках. - Сохранены радиолампы фирмы Telefunken. - 3 конденсатора в цепях ВЧ в схеме держатся одним выводом, вторые оборваны, но вернуть их в схему возможно. - Предохранитель в цепи питания цел. - Внешний вид кенотрона VY2 и радиолампы триода-тетрода VCL-11 пока информации о их состоянии не дал. При восстановлении схемы, проверке всех элементов, замене вышедших из строя по причине старения деталей и подаче напряжения 220в состояние радиоламп будет определено. - Очень оригинально выполнен КПЕ и катушки индуктивности с изменяющейся при вращении ручкой, что на передней панели, индуктивной связью между 2-мя катушечками индуктивности. Намотка выполнена проводом литцендрат в хб изоляции. Схема питания приемника бестрансформаторная.
С "гостем", рожденным в 1938 году в Третьем Рейхе, я прибыл к Олегу Михайловичу R1AAF ( по предварительной договоренности, он ждал меня) и вместе мы исследовали ветерана ... Я был еще в пути домой, а Олег Михайлович в интернет разыскал огромнейший музейный фото и текстовой материал о нашем госте из далекого прошлого и все переслал мне по почте.
За что огромное спасибо, Олег Михайлович, и от меня и от Дмитрия!!!
Так что же, завтра с утра, уважаемый Дмитрий, приступаю к работе. Ждите хороших новостей ...
| Вложения: |

DKE-38.jpg [ 34.04 Кб | Просмотров: 15191 ]
|

3244628420.jpg [ 67.9 Кб | Просмотров: 15191 ]
|

3244628420_3.jpg [ 115.22 Кб | Просмотров: 15191 ]
|

3244628420_6.jpg [ 156.69 Кб | Просмотров: 15191 ]
|
|
|
| Вернуться наверх |
|
 |
|
RA1AMO
|
Заголовок сообщения: Re: Ремонт лампового приемника Добавлено: Сб 06 июл 2013 09:34 |
|
 |
| Зам. Рыжего Лиса |
 |
Зарегистрирован: Вт 08 май 2007 00:00 Сообщений: 1527 Откуда: SPb
|
|
Сумрачный тевтонский гений разрабатывал. Сэкономлено на всем. Лампы накалом включены последовательно, и в сеть через резистор - экономим на трансформаторе, за электроэнергию платит владелец. И, похоже, это детекторный приемник. УНЧ и детектор на одной лампе. Не, обратная связь вроде есть, через конденсатор. Регенератор?
_________________ Feind hört mit!
|
|
| Вернуться наверх |
|
 |
|
R1CN
|
Заголовок сообщения: Re: Ремонт лампового приемника Добавлено: Сб 06 июл 2013 12:35 |
|
 |
| Silent Key |
 |
Зарегистрирован: Ср 14 янв 2009 01:00 Сообщений: 6980 Откуда: Тихвин-город воинской славы.
|
Нет, конечно, не сумрачный гений, а просто Гений. Это, видимо, народный приемник. В интернет, что переслал инфо мне Олег Михайлович, встречается такое название этой модели. Прост в обслуживании, надежен, недорог, доступен массовому слушателю. Страна готовилась к войне со всем Миром. Народ хотел слышать своего Фюрера. Конечно, разумно, видимо, экономили на всем. Тогда все только в мировом радиостроении начиналось. Да регенератор. По исполнению пластмассового корпуса приемник мог стоять и на столе и располагаться на стене жилища. Но поражает исполнение и технология изготовления всех комплектующих приемника в те уже годы в рейхе. Это же была целая сеть различных военных заводов и фирм с диапазоном возможностей от лакокраски - химии -литья пластмассы и металла -штамповки - протяжки медного обмоточного провода -штучной ручной сборки радиокомпонентов - до конечной сборки Telefunken DKE38. А вспомните чем жила наша страна в том же 1938 году. До радио ли было нам тогда, когда за каждым углом мерещились шпионы и вражеские агенты!. Ни с кого в этой модели приемника не "слизано". Применяли немцы свои разработки и очень качественно по немецки их выполняли. Каркас динамика, к примеру, из материала похожего на современный гетинакс. Интересна механика шарнирного механизма изменения расстояния и угла наклона одной катушки по отношению к другой для регулировки, видимо, уровня обратной связи , а стало быть и амплитуды генерации регенератора. Исполнение переменного конденсатора с твердым диэлектриком вызывает так же большое уважение. Хорошо знаком с радиоприемниками СССР первых послевоенных лет, в которых очень многие узлы взяты целиком были из разработок фирм США, Франции, Германии, а то и целиком менялся только дизайн и корпус, а вся внутренняя начинка исполнялась словно под копирку. Но название модели ставили, конечно, наше. В этой же модели все свое и отличного, как всегда и во всем, высшего немецкого качества ...
|
|
| Вернуться наверх |
|
 |
|
R1AAF
|
Заголовок сообщения: Re: Ремонт лампового приемника Добавлено: Пн 08 июл 2013 01:03 |
|
Зарегистрирован: Вс 15 фев 2009 01:00 Сообщений: 2299 Откуда: Санкт-Петербург
|
RA1AMO писал(а): Сумрачный тевтонский гений разрабатывал. Сэкономлено на всем. Лампы накалом включены последовательно, и в сеть через резистор - экономим на трансформаторе, за электроэнергию платит владелец. И, похоже, это детекторный приемник. УНЧ и детектор на одной лампе. Не, обратная связь вроде есть, через конденсатор. Регенератор? Да, это регенератор с одним резонансным контуром. ДВ-СВ диапазоны. Переключение оригинальное - крутишь лимб настройки - 180 град черные цифры, это один диапазон, 180 град красные - другой. Как в казино. Для DKE с питанием от сети были специально разработаны экономичные радиолампы - триод-лучевой тетрод VCL 11 и кенотрон VY 2. Это позволило снизить потребляемую от сети мощность до 15 Вт, так что владельцу платить за электроэнергию приходилось не так уж и много. Вот в этих специально разработанных лампах и таится главная засада при ремонте, несмотря на внешнюю простоту схемы. Если накрылся кенотрон - заменить на полупроводники, не меняя внешнего вида потрохов не проблема. А вот если беда с триодом-тетродом, то задача многократно усложняется. Лампа уникальная. Производилась под этот конкретный приемник и недолго, до начала сороковых. Достать - маловероятно. Но есть варианты замены одной лампы на две. Хотя, будем надеятся, что до этого не дойдет. Немного завидую Александру Константиновичу, которому предстоит интересная и увлекательная работа по реанимации немца. Желаю удачи!
_________________ Олег
|
|
| Вернуться наверх |
|
 |
|
RA1ASC
|
Заголовок сообщения: Re: Ремонт лампового приемника Добавлено: Пн 08 июл 2013 08:56 |
|
Зарегистрирован: Пн 30 апр 2007 00:00 Сообщений: 2205
|
Значек заземления - краник водопровода  ) ,интересно у немцев уже тогда была сеть 220 в
_________________ Хочу приемник с возможностью приема всего спектра электромагнитных колебаний :))
|
|
| Вернуться наверх |
|
 |
|
R1AAF
|
Заголовок сообщения: Re: Ремонт лампового приемника Добавлено: Пн 08 июл 2013 19:34 |
|
Зарегистрирован: Вс 15 фев 2009 01:00 Сообщений: 2299 Откуда: Санкт-Петербург
|
RA1ASC писал(а): интересно у немцев уже тогда была сеть 220 в Да что там сеть 220 в. С середины тридцатых (!!!) в Германии телевидение было массовым Нередко на фотографиях немецких городов 36-41 годов на крышах можно увидеть телевизионные Яги. В 36-ом на ТВ транслировались Олимпийские игры. Первый в мире телесериал из разряда "мыльных" - "В ласточкином гнезде" - крутился на немецком ТВ в те времена.
_________________ Олег
|
|
| Вернуться наверх |
|
 |
|
R1CN
|
Заголовок сообщения: Re: Ремонт лампового приемника Добавлено: Вс 14 июл 2013 00:59 |
|
 |
| Silent Key |
 |
Зарегистрирован: Ср 14 янв 2009 01:00 Сообщений: 6980 Откуда: Тихвин-город воинской славы.
|
Схема на первичном этапе для замера и подбора токов и напряжений в контрольных точках восстановлена! Приемник на прогреве уже около 4 часов. Выпрямитель после ремонта с заменой деталей в полном порядке. На ощупь после 4-х часов прогрева чувствуется нагрев 2-х бумажных конденсаторов (они оба на снимке в левом верхнем уголке) и протечка парафина. Придется вынимать из них содержимое и упаковывать туда современные изделия. Рядом с ними третий конденсатор заменен пока для проверки на слюдяной 10 000пф. Это временно. Будет заменен на другой с бумажным родным корпусом и новой начинкой. Сейчас он в подготовке. Аппарат чувствует присоединение антенны и заземления , но ... пока не "шипит" и никого не слышит. Ждите, кому это интересно, новых сообщений! Не возбраняются здесь дельные советы от любопытных форумчан, что же мне делать дальше? Сейчас занимаюсь регенератором и механикой емкостного и индуктивного узлов обратной связи. От ветхости и окисления оси и внутренней поверхности втулки переменного конденсатора пока емкость его не меняется  Работает ли Главная радиолампа? Каковы интересно у нее анодные и сеточные токи? Есть ли так необходимая эмиссия? На всякий случай на форумах других сайтов сделал запрос о ее приобретении. Очень бы не хотелось резать стеклянный баллон по пластмассовому цоколю , вынимать все рейховское содержимое и размещать там современное российское изделие. Это же надо будет учитывать его активное сопротивление нити накала в разогретом состоянии , придется осторожно подбирать одну из многих, что бы не вывести из строя кенотрон!!! Но это уже лабораторные исследования. Ребята, могу подкинуть темку для курсовика!  Есть желающие? Есть лампы советского еще производства в наличии, но! Пока ждем - с, и настойчиво разбираемся дальше ...
| Вложения: |

DSCN2697.JPG [ 172.52 Кб | Просмотров: 14964 ]
|

DSCN2694.JPG [ 175.51 Кб | Просмотров: 14964 ]
|
|
|
| Вернуться наверх |
|
 |
|
RA1FIT
|
Заголовок сообщения: Re: Ремонт лампового приемника Добавлено: Вс 14 июл 2013 10:36 |
|
Зарегистрирован: Чт 30 июн 2011 12:58 Сообщений: 792 Откуда: СПб, Ломоносов "Ораниенбаумский плацдарм" KO-49VV
|
R1CN писал(а): Запчасти, время, приборы, инструмент, возможность, желание и ... опыт, имеются в наличии.
Александр Константинович! На Перспективу  Есть РБМ -1 без БП с родными лампами и схема. Работы много ..... С уважением !!!
_________________ Юрий RA1FIT / UA1-136-303 ex UK1CIG (1971), RA1FIT (с 1974 по 1979 и с 2013), ex UA3IAQ (1990-1996) / CB : 3Д-2114
|
|
| Вернуться наверх |
|
 |
|
R1CN
|
Заголовок сообщения: Re: Ремонт лампового приемника Добавлено: Вс 14 июл 2013 19:25 |
|
 |
| Silent Key |
 |
Зарегистрирован: Ср 14 янв 2009 01:00 Сообщений: 6980 Откуда: Тихвин-город воинской славы.
|
Ремонтировал уже насколько экземпляров за последние 10 лет! А на базе самой первой модели в 1967 еще году в родном корпусе с верньером, с КПЕ с многими деталями от РБМ собрал первый свой супер на 5 диапазонов на 8 радиолампах. Станция тогда была сильно потрепана и восстановлению не подлежала. БП моего изготовления для подобных аппаратов разошлось уже 12 шт. Если будет Ваша воля, верну к жизни Ваш РБМ и могу сделать БП ... Пишите, звоните! 
|
|
| Вернуться наверх |
|
 |
Кто сейчас на форуме |
Сейчас этот форум просматривают: нет зарегистрированных пользователей и гости: 1 |
|
Вы не можете начинать темы Вы не можете отвечать на сообщения Вы не можете редактировать свои сообщения Вы не можете удалять свои сообщения Вы не можете добавлять вложения
|
|