Сообщения без ответов | Активные темы
| Автор |
Сообщение |
|
R1CN
|
Заголовок сообщения: Re: Ремонт лампового приемника Добавлено: Вс 16 мар 2014 22:08 |
|
 |
| Silent Key |
 |
Зарегистрирован: Ср 14 янв 2009 01:00 Сообщений: 6980 Откуда: Тихвин-город воинской славы.
|
|
Сегодня в полдень в Питере в момент выстрела пушки в Петропавловке состоялсь передача аппарата DKE-38 (в немецком простонародии этот приемник кличется -Морда Геббельса) счастливому владельцу антиквара ...
| Вложения: |
Комментарий к файлу: Любительское фото. Крутые балагуры-говоруны форумские питерские не убивайте автора наповал! Вы же только намерения имеете, а здесь не треп форумский вам так любимый, а конкретное техническое супер творчество ...

DSCN3994.JPG [ 158.56 Кб | Просмотров: 7811 ]
|
|
|
| Вернуться наверх |
|
 |
|
R1CN
|
Заголовок сообщения: Re: Ремонт лампового приемника Добавлено: Вс 16 мар 2014 22:24 |
|
 |
| Silent Key |
 |
Зарегистрирован: Ср 14 янв 2009 01:00 Сообщений: 6980 Откуда: Тихвин-город воинской славы.
|
|
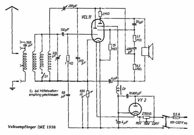
Схема " Морды Геббельса" ...
| Вложения: |
Комментарий к файлу: Вот он схема "Морды Геббельса" ... Хорошо говорить. когда все сделано и вычищено на халяву , заменено и перепаяно. Хорошо говорить задним числом! Конечно, ничего особенного, схема наипростейшая ... это обычная наша жизненная ситуация, ничего героического ... А кто еще сможет так запросто , пожалуйста ... На этом сайте купи-продай, кто что сможет еще , пожалуйста!!!

DKE-38.jpg [ 34.04 Кб | Просмотров: 7801 ]
|
|
|
| Вернуться наверх |
|
 |
|
Sailorjack
|
Заголовок сообщения: Re: Ремонт лампового приемника Добавлено: Вт 03 окт 2017 21:17 |
|
Зарегистрирован: Вт 03 окт 2017 16:01 Сообщений: 1
|
|
День добрый! Не возьмется ли кто нибудь за ремонт лампового Грюндика примерно 1955 года выпуска. Не работает верньер, погнуто несколько пластин КПЕ. Радиотракты АМ и ФМ, питание в порядке. Схемы, список деталей с номиналами и частотой настройки есть.Так же нужна чистка и профилактика. Ремонт корпуса могу организовать самостоятельно. Спасибо! Живу в Санкт-Петербурге.
|
|
| Вернуться наверх |
|
 |
Кто сейчас на форуме |
Сейчас этот форум просматривают: нет зарегистрированных пользователей и гости: 2 |
|
Вы не можете начинать темы Вы не можете отвечать на сообщения Вы не можете редактировать свои сообщения Вы не можете удалять свои сообщения Вы не можете добавлять вложения
|
|